3.长方体和正方体的体积 - (4)容积和容积单位
第1题
(1)C (2)A
第2题
60 m3→60 m2 1.40 cm→1.40 m 1 cm3→1 dm3 50 L→50 m L
6 m3→6 m2 200 cm3→200 dm3 18 mL→18 L
第3题
(1)3450 (2)320 (3)420 (4)8.04 8040 (5)5.7 5700
第4题
3.5×2.5×2=17.5(m3) 17.5<18,不能。
第5题
5×4×8=160(cm3 ) 160 cm3=160 mL 170 mL>160 mL,该说明不真实。
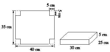
第6题
分析:如下图所示,焊接成的长方体盒子的长是长方形的长减去2个5 cm,即(40-5-5)cm;焊接成的长方体盒子的宽是长方形的宽减去2个5 cm,即(35-5-5)cm;焊接成的长方体盒子的高是正方形的边长,即5 cm。长方体的体积=长×宽×高,可求出这个长方体盒子的容积。

解答:分步列式:40-5-5=30(cm)………………(4分)
35-5-5=25(cm) ………………(4分)
30×25×5=3750(cm3) ………………(3分)
答:这个长方体盒子的容积是3750 cm3。………………(1分)
或综合列式:(40-5-5)×(35-5-5)×5=3750(cm3) ………………(11分)
答:这个长方体盒子的容积是3750 cm3。………………(1分)
第7题
分析: 拼成的鱼缸就是一个无盖的长方体,共需要5块玻璃,观察题中所给的五块玻璃的尺寸,一共有3种不同的尺寸,长45 cm,宽15 cm的玻璃有两块,可以作为鱼缸的前、后两个面,长20 cm,宽15 cm的玻璃也有两块,正好可以作为鱼缸的左、右两个面,剩下的一块玻璃恰好是鱼缸的底部,因为它的长和宽分别是45 cm和20 cm。如下图所示:

鱼缸的容积就是长方体的体积。
解答:45×20×15=13500(cm3)………………(10分)
答:能用它们拼成一个鱼缸,它的容积是13500 cm3。………………(2分)
第8题
分析:由“高减少2cm后,表面积比原来减少了40 cm2”,可知40 cm2就是图中阴影部分的面积。可求一个面的面积为40÷4=10(cm2),由此可推出正方体的棱长为10÷2=5(cm),所以原长方体的体积为5×5×(5+2)=175(cm3)。

解答:40÷4=10(cm2)………………(4分)
10÷2=5(cm) ………………(4分)
5×5×(5+2)=175(cm3)………………(4分)
答:原长方体水箱的容积是175cm3。……………(1分)
第9题
分析:长方体容器中水的体积可以求出,是30×20×6=3600(cm3),当容器竖起来放置以后,水流动了,但体积没有发生变化,这时容器的底面是长20 cm,宽10 cm的长方形,可以求出底面积是20×10=200(cm2), 用水的体积除以容器的底面积就可以求出水的深度了。
解答:(1)3600 …………(3分)
(2)200 18 ………………(6分)
(3)【方法一】: 30×20×5=3000(cm3) ……………(3分)
20×10=200(cm2) ……………(3分)
3000÷200=15(cm)………………(2分)
【方法二】:
解:设容器里面的水深x厘米。……………(1分)
20×10×x=30×20×5……………(4分)
x=15……………(2分)
答:容器里面的水深15 cm。………………(1分)